
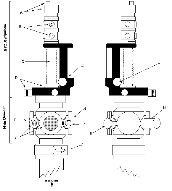
A) Rotary motion knobs, B) High-voltage feedthroughs, C) Manipulator bellows, D) X- Y manipulator micrometers, E) Z-motion micrometer, F) MCP, G) Viewports, H) Fluorescent screen, I) Nude ion gauge, J) Gate valve, K) Palladium leak valve, L) Z-motion motor mount, M) UHV valve.